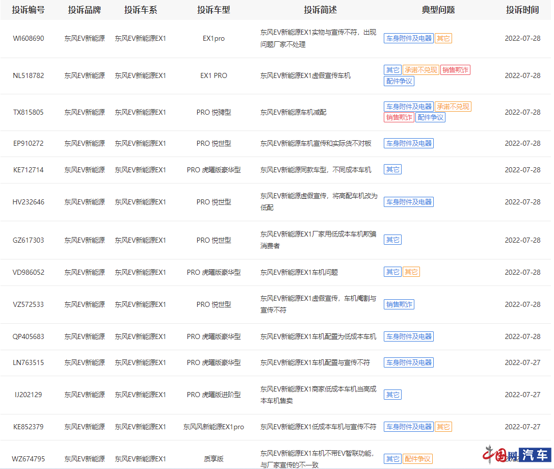
中国网汽车8月15日讯 (记者 王忆东)近日,中国网汽车质量投诉平台(https://315.auto.china.com.cn/zlts/complaint-list.html )接连收到多位东风EV新能源EX1 PRO车主投诉车机与宣传不符,质疑东风EV涉嫌欺诈消费者。据记者统计,仅一天之内,上述投诉数量就激增高达二十余条,截至发稿前,该投诉还在不断攀升中……

搭载“低成本车机”与宣传不符 客服称不同版本
其中一位投诉车主王女士向记者反馈,自己于今年3月28日预定了一款东风EV新能源EX1 PRO车型(虎曜版豪华型),5月28日提车时就发现新车车机系统与官方宣传完全不符。据车主描述:实际到手的车辆车机主界面屏幕左侧区域竖直有5个触摸功能点(没有语音交互功能),右侧区域仅有多媒体、收音机、车辆电量显示、手机互联4项功能,并无官方宣传中提及的“科大讯飞智能语音交互系统、高德智能全时导航系统、24小时在线娱乐”这3项功能。



王女士表示:实车与官方参数配置表及宣传海报车机系统主界面明显不一致。此外,她强调:在随车附带的整车配置单上甚至明显标注“低成本车机”。当即,车主就向销售人员提出了自己的疑惑,“他们说目前所售新车配备的都是这款车机,且销售只负责卖车辆,对车辆更改配置的情况不清楚。”
随后王女士发现:在东风EV车友群中,凡于今年4月-6月中上旬提车的东风新能源EX1 PRO车型,原厂车机系统均存在上述问题,搭载了“低成本车机”。据投诉车主们反馈:该型车机系统操作不方便、触碰不灵敏,且存在连接手机后经常卡顿、掉线等问题。
更加令人费解的是,通过车友们调查发现:“凡在今年6月下旬所提同款车型的车机系统显示主界面与之前的‘低本成车机’显示主界面明显不同,但与官方在今年3月发布车型时的宣传海报车机系统主界面一致。而其整车配置单上也明显标注为‘高成本车机’。”谈及此处,投诉车主颇为气愤。“同款配置,同样价格,为什么我们的车机就是‘低成本’?”


投诉车主们称:上述证据都能证明,东创紫联公司从2022年4月份开始至今所交付到车主手中的东风EX1 PRO车型所装配的车机共有“低成本车机”与“高成本车机”两种,但其官方发布车型销售参数配置表中却是“高成本车机”功能描述。且东创紫联公司在交付“低成本车机”车辆前,从未以任何形式告知广大车主更换车机的情况,并且其所发布的关于EX1 PRO车型的所有宣传视频中,所有涉及车机系统主界面均为“高成本车机”,从未出现“低成本车机”主界面的镜头。
对此,王女士称自己也曾联系过东风EV客服投诉,“客服就是含糊其辞,仅表示:有不同的版本,但不影响使用。”对此解释,车主表示无法接受。
至此,车主们集体投诉东创紫联公司涉嫌虚假宣传,以次充好,使用与官方宣传明显不符的“低成本车机”装配车辆用于交付车主,给广大车主带来了不良驾乘感。“东创紫联公司这种事前不说明,事后不解释的‘霸王’作法让广大消费者感到愤慨,我们强烈要求东创紫联公司给予答复并拿出解决方案!强烈要求将原来‘低成本车机’更换成‘高成本车机’,并公开道歉!”
针对大面积的车主投诉东风EV涉嫌欺诈的情况,我网记者也联系了东风EV,客服人员仅表示会核实相关问题。对于记者提出的近期是否收到类似投诉的问题,避而不答。
律师称东风公司或存在虚假陈述 以次充好的行为
对此,记者也咨询了河南大河律师事务所的王永建律师,王律师表示:根据车主反馈的情况,东风公司在汽车销售过程中存在虚假陈述,以次充好的行为!无论从官方宣传还是汽车配置单,都显示了车机系统应有的智能互联系统,在部分交付车型中却没有此功能。且车机系统分高成本车机和低成本车机两种,但在销售过程中未加以区别而混同宣传,属于典型的虚假宣传和夸大宣传!
伴随新能源汽车市场的不断发展,除了造车新势力的不断涌现,众多传统车企也纷纷加入新能源赛道,其中老牌车企东风汽车可以算是中国较早研发新能源汽车的企业之一,但其初期旗下新能源产品仅挂靠在东风各自主品牌下营销,并未有单独形成独立板块,致使东风新能源整体品牌知名度并不高,市场表现也不尽如人意。
随后在2017年,东风汽车与雷诺-日产联盟组建成立东风日产雷诺新能源汽车有限公司,其中东风汽车、雷诺和日产分别持有50%、25%和25%的股份,产品包括雷诺、启辰、风光、风神、风行等新能源汽车,后更名为易捷特新能源汽车有限公司。然而此番操作也并未对市场认知度不高的东风新能源汽车有任何改观。
直至2020年,东风汽车独资成立东创紫联(武汉)新能源科技有限公司,专门负责国内市场入门级A/B级别的新能源产品营销。东风新能源EX1 PRO车型则是该公司于今年3月19日推出的新能源车型。值得注意的是,根据官方发布的新车参数配置表显示,悦世型、悦骋型、虎曜版进阶型、虎曜版豪华型四种型号配置有车机系统,其“智能互联”配置中有“智能互联车机系统”,含“科大讯飞智能语音交互系统、高德智能全时导航系统、24小时在线娱乐”3项功能,且在官方发布宣传海报中也明确标注具有上述功能,并带有车机系统主界面宣传图。与此同时,在东创紫联公司发布的官方宣传视频中的车机也具有宣传海报中的语音交互功能和高德导航功能。
此外,值得一提的是,在东风EX1 PRO上市前,东风EV总经理陈萌曾向媒体表示:东风EV新能源不做低质低价的产品,因为东风作为一个国有品牌、一个央企,我们拥有50年的造车经验,我们的质量标准不允许我们去做低质低价的产品,因为我们必须坚守我们对质量近乎苛刻的造车理念,回归汽车的本质,还要对自己的品牌负责。现在东风EX1得到市场的认同,一个很大的原因就是用户对产品质量的高度认可……
(责任编辑:畅帅帅)